破碎機在生產之前首先進行生產前的設計,只有提起對破碎機的結構有初步的設計才能適應市場的需求,下面就來介紹下破碎機破碎室與壓縮室的結構設計過程。
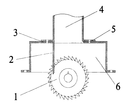
破碎室的功能是實現垃圾的破碎,破碎室主要由動刀片和定刀片組成,動刀片通過鍵固定在轉軸上,轉軸帶動動刀片高速旋轉對物料進行剪切為主沖擊為輔的破碎以及通過動刀片和定刀片之間的配合對物料進行嚙合破碎。為了便于檢修,破碎室通過法蘭與壓縮室相連接,下部通過法蘭固定在破碎機機架上,如下圖

破碎室結構圖
1-動刀片 2-定刀 3-破碎室法蘭 4-壓縮室 5-壓縮室法蘭 6-破碎室
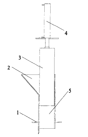
壓縮室的核心功能是實現垃圾破碎前的預壓縮處理,壓縮室主要由料斗和壓頭組成,要求料斗同壓頭緊密配合,實現對垃圾的壓縮處理。
工作過程如下:將分選處理后的垃圾裝入料斗,通過液壓驅動活塞帶動壓頭在對料斗內的垃圾進行壓縮。壓縮室上部設有進料口,壓頭鏈接活塞懸垂在進料口出,壓縮室下部設有法蘭板,通過法蘭與破碎室相互連,壓縮室結構如下圖

壓縮室結構圖
1--法蘭板 2--進料口 3-壓頭 4-活塞 5-料斗
上一篇: 破碎機動刀與定刀的結構設計方案
下一篇: 破碎機料斗與進料方式的設計
2021-11-30
2021-11-15